全国服务热线

13363683360

公司公告:你需要的,我们都有 产品齐全、质量上乘、价格合理、发货及时、售后完善
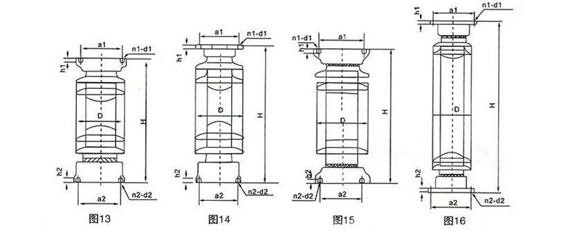
户外棒形支柱瓷绝缘子
联系方式

地址:河北省河间市行别营工业区

手机:13363683360(韩经理)

Q Q:1285665616

邮箱:1285665616@qq.com

绝缘子|绝缘子|复合绝缘子|玻璃绝缘子|支柱绝缘子|电力金具厂家-河间天恒电力器材left图
ZSW-110/4 陶瓷支柱绝缘子

日期:2018-09-27 10:11:19

点击:

  



















        

TAG标签:

官方QQ 河间市天恒电力器材有限公司